Мы используем cookie для наилучшего представления нашего сайта. Подробнее об этом в Политике конфиденциальности.
Ок

Серпухов

Ваш город:
Серпухов (Московская область)?
Нет
Да
Каталог
Каталог Написать в WhatsApp
Мотоэкипировка

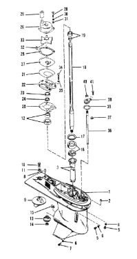
Корпус шестерни (приводной вал) 2-Х ТАКТНОГО ПЛМ MERCURY 90 Серийный номер от 9589039 до 9793576

Корпус шестерни (приводной вал) 2-Х ТАКТНОГО ПЛМ MERCURY 90 Серийный номер от 9589039 до 9793576 в Москве: актуальный каталог, цены, фото, описание. Купите корпус шестерни (приводной вал) 2-х тактного плм mercury 90 серийный номер от 9589039 до 9793576 в кредит – оформите заявку онлайн за 1 минуту!

Оригинальные запчасти

Артикул НАИМЕНОВАНИЕ Кол-во деталей в узле Примечание Наличие Цена Аналоги Фото
1 9011J16 GC 100-125 LB BLK

Под заказ

1

Под заказ

уточнить

Купить
2 9011J19 ORD 1667-9011J16

Под заказ

1

Под заказ

уточнить

Купить
3 9011T73 GEAR HSG-BASIC-BL

Под заказ

1

Под заказ

уточнить

Купить
4 9011T74 ORD 1667-9011T73

Под заказ

1

Под заказ

уточнить

Купить
5 8M0084244 Штифт (PIN - DOWEL)

Под заказ

1

Под заказ

уточнить

Купить
6 43046 трубка (TUBE, Oiler)

Под заказ

1

Под заказ

уточнить

Купить
7 79953Q04 Болт дренажный 0.375-16х0.25 (SCREW KIT @2)

Под заказ

2

Под заказ

уточнить

Купить
8 191833 Прокладка дренажного болта редуктора F80

Под заказ

3

Под заказ

уточнить

Купить
9 8M0058389 Болт (SCREW KIT @2)

Под заказ

1

Под заказ

уточнить

Купить
10 43044 Штифт (PIN, Dowel - Without Hole (.375 x .625))

Под заказ

1

Под заказ

уточнить

Купить
11 31640Q4 Триммер-анод (ANODE/TRIM TAB)

Под заказ

1

Под заказ

уточнить

Купить
12 825427 Болт (SCREW)

Под заказ

1

Под заказ

уточнить

Купить
13 45176 Шайба (WASHER, GEAR HOUSING STUDS)

Под заказ

1

Под заказ

уточнить

Купить
14 43040T1 Подшипник игольчатый (CARRIER ASSY)

Под заказ

1

Под заказ

уточнить

Купить
15 44484T Шестерня ведущая (GEAR-PINION)

Под заказ

1

Под заказ

уточнить

Купить
16 35921 Гайка

Под заказ

1

Под заказ

уточнить

Купить
17 760394 Кулачок (CAM-SHIFT@2)

Под заказ

1

Под заказ

уточнить

Купить
18 42677A1 Шарикоподшипник (BEARING KIT)

Под заказ

1

Под заказ

уточнить

Купить
19 44492A1 Регулировочные кольца (shim set)

Под заказ

1

Под заказ

уточнить

Купить
20 43031A1 Приводной вал (D'SHAFT ASSY-L)

Под заказ

1

Под заказ

уточнить

Купить
21 42461A1 Пластиковое кольцо (SLEEVE/RING KIT)

Под заказ

1

Под заказ

уточнить

Купить
22 430472 Прокладка (GASKET)

Под заказ

1

Под заказ

уточнить

Купить
23 430331 Прокладка (GASKET)

Под заказ

1

Под заказ

уточнить

Купить
24 43055A4 WATER PUMP BASE ASSEMBLY, Aluminum Cover

Под заказ

1

Под заказ

уточнить

Купить
25 43036 Сальник (SEAL)

Под заказ

1

Под заказ

уточнить

Купить
26 43035 Сальник (SEAL)

Под заказ

1

Под заказ

уточнить

Купить
27 430341 GASKET ALUMINUM COVER

Под заказ

1

Под заказ

уточнить

Купить
28 8172771 Прокладка (GASKET-WATER PUMP)

Под заказ

1

Под заказ

уточнить

Купить
29 4000332 SCREW, ADAPTOR TO BOTTOM COWL (35MM)

Под заказ

4

Под заказ

уточнить

Купить
30 43023 Сальник (SEAL)

Под заказ

1

Под заказ

уточнить

Купить
31 817275A2 Ремкомплект помпы (HOUSING-W/P UPPER)

Под заказ

1

Под заказ

уточнить

Купить
32 8172761 Зеркало помпы - шайба плоская стальная

Под заказ

1

Под заказ

уточнить

Купить
33 8M0032833 Шпонка (KEY)

Под заказ

1

Под заказ

уточнить

Купить
34 43026Q02 Крыльчатка помпы Mercruiser alpha one gen ii MERCURY IMPELLER

Под заказ

1

Под заказ

уточнить

3 050

Купить
35 4000330 Болт (SCREW @5)

Под заказ

6

Под заказ

уточнить

Купить
36 29245 Шайба (WASHER @10)

Под заказ

6

Под заказ

уточнить

Купить
37 43048A1 SHIFT SHAFT ASSEMBLY (LONG)

Под заказ

1

Под заказ

уточнить

Купить
38 29641 Шплинт (E RING @2)

Под заказ

1

Под заказ

уточнить

Купить
39 43052A4 Втулка (BUSHING ASSEMBLY)

Под заказ

1

Под заказ

уточнить

Купить
40 457101 Уплотнительное кольцо (O RING @5)

Под заказ

1

Под заказ

уточнить

Купить
41 8164641 Сальник (SEAL)

Под заказ

1

Под заказ

уточнить

Купить
42 43004A99 Набор прокладок 75/90 дв. блок (GASKET SET)

Под заказ

1

Под заказ

уточнить

Купить
43 43035A4 Набор сальников (SEAL KIT)

Под заказ

1

Под заказ

уточнить

Купить
44 43024A7 Ремонтный комплект (REPAIR KIT, Water Pump)

Под заказ

1

Под заказ

уточнить

Купить

Нулевая цена не означает отсутствие товара. Оформите заказ, и менеджер сообщит вам цену и наличие товара, предварительно запросив их у поставщика

Главная Магазины
Корзина0
Профиль